云南机电职业技术学院

211 | 985 | 双一流 | 理工
云南省 高职(专科) 省重点 公办

克尽厥职、笃行技精

0871-65237411

http://www.ynmec.com/

图片

云南机电职业技术学院2020年单独考试招生章程

2022-06-20 21:54:09      分享至:

  按照《云南省教育厅关于印发使用普通高中学业水平考试成绩进行高职院校单独考试招生工作实施方案的通知》(云教办【2017】66号),《云南省教育厅关于印发2020年高职院校单独招生考试招生办法2个文件的通知》(云教发【2020】1号)文件要求,结合我院实际情况,编制《云南机电职业技术学院2020年单独考试招生章程》。

  一、学院简介

  ★规模

  学院于2018年9月划归云南省教育厅归口管理。学院位于春城昆明,北依长虫山风景区、东傍著名风景昆明植物园、昆明黑龙潭公园,校园环境优美。机电学院始终与高等职业教育、经济社会发展命运紧密相连,在中国现代装备制造业、机电行业史上有不可替代的地位,以“克尽厥职、笃行技精”的态度,赢得了“中国特色高水平专业建设计划拟建单位”、“国家示范性高等职业院校”、“云南省级示范性高等职业院校”、“国家级优质专科高等职业院校”、“云南省文明学校”、“云南省平安校园”、“云南省高校毕业生应征入伍工作先进集体”、“云南省就业典型经验高校”、连续七年获得“高校毕业生就业工作一等奖”。 是云南省装备制造业“双高”人才重要培养基地。

  学院现有昆明及东川两个校区,教职工人数437人,全日制在校学生10040人,学院占地面积615亩,校舍建筑面积18.4万平方米,固定资产5.4亿。师资力量雄厚,教学成果丰硕。拥有先进的实验实训设备。已建成校内实训基地71个,校外实训基地103个,签订校企合作单位400余家,已建成8个“校中厂”,13个“厂中校”。

  ★专业设置、学生就业、升学情况

  学院设立五系一部一校区开设44个招生专业。学院以“优化专业结构、服务市场需求、提高办学质量”为总体原则。主要以机电类专业为主,专业覆盖机械、电气、汽车、管理、信息、应用越南语等。从2015年开始新增航空类专业:飞机机电设备维修、飞机部件维修、航空电子电气技术、民航运输等专业,毕业生陆续分配到航空行业工作。学院连续七年就业率均在98%以上,省内就业企业包括昆明铁路局、海南航空技术云南分公司、云南建投集团、昆明地铁运营有限公司、各地州供电公司、云南省设计院、云南省高级人民法院等省内企业就业。省外就业企业有华为股份有限公司、大连船舶工程有限公司、上汽大众股份公司、武汉天马微股份有限公司等就业。学生顶岗实习主要分布在长三角、珠三角。学生学院积极开展国际交流与合作,派遣学生到美国、日本、新加坡、韩国、赞比亚等国家留学、就业,同时面向东南亚国家招收留学生。升学渠道畅通,应届毕业生参加云南省统一组织的专升本考试,录取率90%以上。

  2、办学类型:国家公办全日制综合性普通高等学校

  3、办学层次:专科

  4、学制:三年

  二、单独招生计划

  (一)招生计划

  2020年单独招生计划:1000人。招生专业及计划分配见附件1。

  (二)职业适应性测试计划

  1.报考我院单招考试的普通高中应(往)届考生,根据类别招生计划数,以“普通高中学业水平考试”成绩从高到低顺序,按招生计划数1:3的比例进入我院“职业适应性测试”。

  2.报考我院单招考试的三校生应(往)届考生根据招生计划数,以“文化素质考试”成绩从高到低的顺序,招生计划数1:3的比例进入我院“职业适应性测试”。

  3.建档立卡贫困户考生资格以省招考院审核下达数据为准。

  (1)报考我院单招的普通高中建档立卡贫困户考生,根据类别招生计划数,以“普通高中学业水平考试”成绩从高到低顺序,按招生计划数1:3的比例进入我院“职业适应性测试”。

  (2)报考我院单招的三校生建档立卡贫困户考生参加文化素质考试后,根据招生计划数,以“文化素质考试”成绩从高到低的顺序,招生计划数1:3的比例进入我院“职业适应性测试”。

  (4)具备免试入学资格考生的单招计划从相应类别中单列。具备免试入学资格的考生全部进入职业技能测试。

  三、报考条件

  通过2020年高考报名的考生均可报考高职单招。报考建档立卡贫困专项的必须是云南省建档立卡贫困家庭考生;申请免试的考生必须符合免试条件。对采用弄虚作假、资格造假等手段骗取考生资格的,一经查实,即按照《中华人民共和国教育部令第36号》等严肃处理。

  四、报考程序

  (一)报名时间

  2020年1月10日—13日,13日18时关闭系统。

  (二)报考办法

  1.在报考截止时间之前,考生登录云南省招考频道进入“工作网”(www.ynzs.cn或www.ynzk.cn),通过“普高志愿填报”功能进行报考, 考生登录工作网时,可以使用高考报名时所使用的用户名,也可以使用高考考号;登录密码使用高考网上报名时的登录密码。考生忘记登录密码,可以携带本人有效证件到确认点或确认点所在县、市、区招办进行密码重置。

  建档立卡贫困家庭考生在单招报考时,选项“是否是建档立卡户”必须选择“是”,建档立卡贫困户考生资格以2019年12月31日止省扶贫办比对数据结果为准,如因考生报考时个人信息填写错误,导致不能进行数据比对或者比对错误的,后果由本人承担。

  考生报名后必须于2020年1月13日18时前到报名确认点进行签字确认,单招报考方为有效。

  2.报考2020年我院单独考试招生的考生,允许兼报其它院校。

  (三)申请免试入学

  职业院校技能拔尖中职毕业生申请免试就读高职(专科),具体事项见《关于高等职业院校免试招收职业院校技能拔尖中职毕业生的指导意见》等(附件4)。免试资格等相关问题请直接与我院招生办联系,联系电话见后。

  (四)单招考试费

  根据《云南省财政厅云南省发展和改革委员会关于取消免征一批云南省地方设立的行政事业性收费的通知》(云财非税〔2017〕16号)精神,自2017年6月1日起,取消高等院校自主选拔录取考试费和单招考试费。报考我院2020年单独考试招生的考生考试费由我院承担,不再向考生收取。

  (五)体检

  参加高职单招的考生必须参加县、市、区招考办统一组织安排的普高体检,否则不能参加录取。

  五、考核方式

  (一)普通高中应(往)届毕业生

  不分文理科,实行“普通高中学业水平考试11门科目成绩+职业适应性测试”评价方式。普通高中学业水平考试量化成绩220分,职业适应性测试200分,总分420分。

  1.普通高中学业水平考试量化成绩

  (1)普通高中学业水平考试共11门学科(语文、数学、外语、思想政治、历史、地理、物理、化学、生物、信息技术及通用技术),每个科目按最好成绩等第进行量化(A等20分、B等16分、C等12分、D等8分),量化分数的满分为220分。

  (2)2020年1月底前由云南省招生考试院将报考我院单招考生普通高中学业水平考试11门科目量化成绩提供给我院。

  2.职业适应性测试。时间:2020年3月14日9:00-18:00,地点:校本部教学楼。

  3.成绩汇总。总成绩=普通高中学业水平考试成绩+职业适应性测试成绩。

  (二)三校生应(往)届毕业生

  实行“文化课网试+职业适应性测试”的评价方式。

  1.文化课网试

  (1)三校生类综合试卷:语文110分、数学110分、英语80分,总分300分;网试时间150分钟。

  (2)网试大纲:“三校生”公共科目考试大纲。

  (3)网试时间:2020年3月13日上午9:00-11:30。

  (4)网试地点:云南机电职业技术学院校本部。考生以准考证上的网试地点为准。

  2.职业适应性测试:时间:2020年3月14日9:00-18:00,地点:校本部教学楼。

  3.成绩汇总。总成绩=文化课网试成绩+职业适应性测试成绩。

  (三)建档立卡户考生

  普通高中建档立卡户贫困考生单招考核方式与普通高中应(往)届毕业生单招考核方式相同。总成绩=普通高中学业水平考试成绩+职业适应性测试成绩。

  三校生建档立卡户贫困考生单招考核方式与三校生应(往)届毕业生单招考核方式相同。总成绩=文化课网试成绩+职业适应性测试成绩。

  (四)申请免试入学的考生

  实行“免试资料审核+职业适应性测试”的评价方式。根据考生提交的免试申请,经省教育厅、省招考院审核合格后,参加我院职业适应性测试。总成绩=职业适应性测试成绩。

  (五)职业适应性测试注意事项

  1.我院于2020年2月底前在学院单招网站上公布参加我院职业适应性测试的考生名单,考生于2020年3月9日后可在学院单独招生网上打印准考证,测试当日凭第二代身份证、准考证参加考试。

  2.职业适应性测试时间:时间:2020年3月14日9:00-18:00,地点:校本部教学楼。

  3.职业适应性测试大纲:见附件2。

  4.我院将于2020年3月20日将经分管招生校领导签字盖章的成绩册、DBF格式数据库光盘报云南省招生考试院招生处审核备案。

  六、录取办法

  (一)录取原则

  1.学院严格遵守国家教育部、省教育厅、省招生考试院招生录取工作政策规定,严格遵守高校招生阳光工程“30个不准”工作纪律,规范招生操作,依法履行招生工作。

  2.考生身体健康要求,参照《普通高等学校招生体检工作指导意见》规定。

  3.普通高中应(往)届考生录取办法:总成绩=普通高中学业水平考试成绩+职业适应性测试成绩的评价方式,根据相应单招计划,身体条件、总成绩从高到低顺序,参考志愿顺序录取。

  4.三校生应(往)届考生录取办法:总成绩=文化课网试成绩+职业适应性测试成绩的评价方式,根据相应单招计划,身体条件、总成绩从高到低顺序,参考志愿顺序录取。

  5.建档立卡户考生录取办法:

  普通高中建档立卡户考生录取办法:总成绩=普通高中学业水平考试成绩+职业适应性测试成绩的评价方式,根据相应单招计划,身体条件、总成绩从高到低顺序,参考志愿顺序录取。

  三校生建档立卡户考生录取办法:文化课网试成绩+职业适应性测试成绩的评价方式,根据相应单招计划,身体条件、总成绩从高到低顺序,参考志愿顺序录取。

  6.具备免试入学资格的考生录取办法:总成绩=职业适应性测试成绩的评价方式,根据相应单招计划,身体条件、总成绩从高到低顺序,参考志愿顺序录取。

  (二)录取程序

  1.考生查询个人成绩:2020年3月20日起,考生可登陆学院单独招生网站查询个人成绩。

  2.公示单招拟录取名单:学院单独招生办公室根据单独招生录取原则确定单招拟录名单报学院单独招生领导小组审查确认,于2020年3月20日上报省招考院审录,2020年3月30日前在云南招考频道上公示拟录名单。

  3.单招录取确认:

  云南省招考频道网上公示的考生,必须到当地报名确认点进行确认(被两所及以上院校拟录公示的,只能选择一所院校进行确认)。未签字确认的考生视为放弃参加单招录取。

  4. 确认流程:

  (1)时间: 2020年3月30日—4月2日

  (2)地点: 当地县、市、区招办

1111.png

  说明:

  (1)2020年3月30日—4月2日单招拟录确认,如有第二批公示确认,以云南省招考频道公布的时间、要求为准。云南省招考频道网上公示拟录名单中的考生,必须到当地县、市、区招办进行签字确认,被两所及以上院校拟录公示的考生,只能选择一所院校进行签字确认。未签字确认的考生视为放弃参加单招录取。

  (2)确认参加单招录取的考生,不再参加普通高校统一考试录取;考生必须在3月30日前通过云南省招考频道查询核实;未在云南省招考频道网上公示预录名单中的考生,不能参加单招录取,可参加普通高等学校招生全国统一考试或三校生“文化素质+职业技能”云南省统一考试。

  5.公示单招预录取名单:2020年4月10日前云南省招考频道网上公示单招预录名单,请考生注意查看。

  6.普通高中生、建档立卡户普高考生须达到学业水平考试控制分数线、参加职业适应性测试、体检方具备单招录取资格。三校生、建档立卡户三校生考生必须参加文化素质考试、职业技能考核、体检方有资格参加单招录取。免试入学考生须具备免试入学资格,参加职业适应性测试、体检方具备单招录取资格。

  7.确认参加单招录取的考生,不再参加普通高校统一考试录取。

  8.录取通知书:经云南省招生考试院审核批准后,我院于2020年7月办理录取手续,并向考生发放录取通知书。

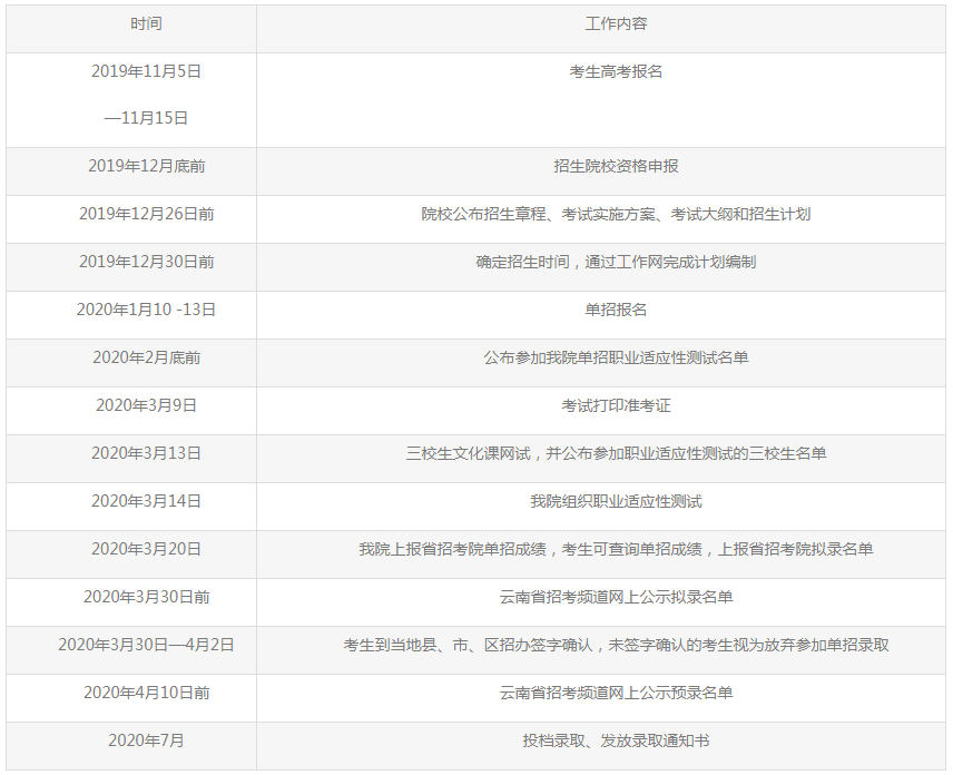
  七、单招工作日程

2222.png

  八、招生监督

  (一)我院深入实施阳光招生,坚决抵制各种不正之风,促进教育公平,接收考生、家长、社会监督。

  (二)招生中出现违规违纪问题的举报投诉方式:云南机电职业技术学院纪检监察审计处:0871-65237363。

  九、优惠政策

  (一)凡学院单独招生录取考生,与普通高校秋季招生录取考生享受同等政策,云南省招生考试院统一报教育部电子注册。

  (二)建档立卡户贫困考生,单列招生计划,录取专业优先,优先推荐就业。

  (三)具备免试入学资格的考生,直接参加我院职业适应性测试。

  (四)对录取到我院的云南省范围内大中型水库移民安置区的移民考生,由省财政厅、省移民局给予学费和生活费补助,每年每生8000元。此类考生报到前须如实填写《移民学生招生报名表》(见附件3)一式三份),到生源所在地的县(市、区)移民局和州(市)移民局签字盖章,报到后交至学院招生办公室。

  十、其它事项

  (一)联系方式

  1.通讯地址:云南省昆明市盘龙区龙泉路704号,云南机电职业技术学院招生办公室

  2.邮编:650203

  3.咨询电话:0871-65237409,65237414

  4.监督电话:0871-66314360

  (二)本章程:由云南机电职业技术学院招生办公室负责解释。

  (三)请广大考生注意查看:云南招考频道网址:www.ynzk.cn;云南机电职业技术学院网址:www.ynmec.com

  附件.docx(点击查看)

  附件1:《云南机电职业技术学院2020年单独考试招生计划》

  附件2:《云南机电职业技术学院2020年单独考试招生职业适应性测试大纲》

  附件3:《云南机电职业技术学院2020年移民招生报名表》

  附件4:《关于做好2020年高等职业院校免试招收职业院校技能拔尖中职毕业生工作的通知》

  附件4.1《云南省高等职业院校技能拔尖人才免试招生申请表》

  附件4.2 《云南省2020年普通高等学校免试招收职业院校技能拔尖毕业生资格审查汇总表(中职毕业生适用)》


云南机电职业技术学院2020年单独考试招生章程

2022-06-20 21:54:09

  按照《云南省教育厅关于印发使用普通高中学业水平考试成绩进行高职院校单独考试招生工作实施方案的通知》(云教办【2017】66号),《云南省教育厅关于印发2020年高职院校单独招生考试招生办法2个文件的通知》(云教发【2020】1号)文件要求,结合我院实际情况,编制《云南机电职业技术学院2020年单独考试招生章程》。

  一、学院简介

  ★规模

  学院于2018年9月划归云南省教育厅归口管理。学院位于春城昆明,北依长虫山风景区、东傍著名风景昆明植物园、昆明黑龙潭公园,校园环境优美。机电学院始终与高等职业教育、经济社会发展命运紧密相连,在中国现代装备制造业、机电行业史上有不可替代的地位,以“克尽厥职、笃行技精”的态度,赢得了“中国特色高水平专业建设计划拟建单位”、“国家示范性高等职业院校”、“云南省级示范性高等职业院校”、“国家级优质专科高等职业院校”、“云南省文明学校”、“云南省平安校园”、“云南省高校毕业生应征入伍工作先进集体”、“云南省就业典型经验高校”、连续七年获得“高校毕业生就业工作一等奖”。 是云南省装备制造业“双高”人才重要培养基地。

  学院现有昆明及东川两个校区,教职工人数437人,全日制在校学生10040人,学院占地面积615亩,校舍建筑面积18.4万平方米,固定资产5.4亿。师资力量雄厚,教学成果丰硕。拥有先进的实验实训设备。已建成校内实训基地71个,校外实训基地103个,签订校企合作单位400余家,已建成8个“校中厂”,13个“厂中校”。

  ★专业设置、学生就业、升学情况

  学院设立五系一部一校区开设44个招生专业。学院以“优化专业结构、服务市场需求、提高办学质量”为总体原则。主要以机电类专业为主,专业覆盖机械、电气、汽车、管理、信息、应用越南语等。从2015年开始新增航空类专业:飞机机电设备维修、飞机部件维修、航空电子电气技术、民航运输等专业,毕业生陆续分配到航空行业工作。学院连续七年就业率均在98%以上,省内就业企业包括昆明铁路局、海南航空技术云南分公司、云南建投集团、昆明地铁运营有限公司、各地州供电公司、云南省设计院、云南省高级人民法院等省内企业就业。省外就业企业有华为股份有限公司、大连船舶工程有限公司、上汽大众股份公司、武汉天马微股份有限公司等就业。学生顶岗实习主要分布在长三角、珠三角。学生学院积极开展国际交流与合作,派遣学生到美国、日本、新加坡、韩国、赞比亚等国家留学、就业,同时面向东南亚国家招收留学生。升学渠道畅通,应届毕业生参加云南省统一组织的专升本考试,录取率90%以上。

  2、办学类型:国家公办全日制综合性普通高等学校

  3、办学层次:专科

  4、学制:三年

  二、单独招生计划

  (一)招生计划

  2020年单独招生计划:1000人。招生专业及计划分配见附件1。

  (二)职业适应性测试计划

  1.报考我院单招考试的普通高中应(往)届考生,根据类别招生计划数,以“普通高中学业水平考试”成绩从高到低顺序,按招生计划数1:3的比例进入我院“职业适应性测试”。

  2.报考我院单招考试的三校生应(往)届考生根据招生计划数,以“文化素质考试”成绩从高到低的顺序,招生计划数1:3的比例进入我院“职业适应性测试”。

  3.建档立卡贫困户考生资格以省招考院审核下达数据为准。

  (1)报考我院单招的普通高中建档立卡贫困户考生,根据类别招生计划数,以“普通高中学业水平考试”成绩从高到低顺序,按招生计划数1:3的比例进入我院“职业适应性测试”。

  (2)报考我院单招的三校生建档立卡贫困户考生参加文化素质考试后,根据招生计划数,以“文化素质考试”成绩从高到低的顺序,招生计划数1:3的比例进入我院“职业适应性测试”。

  (4)具备免试入学资格考生的单招计划从相应类别中单列。具备免试入学资格的考生全部进入职业技能测试。

  三、报考条件

  通过2020年高考报名的考生均可报考高职单招。报考建档立卡贫困专项的必须是云南省建档立卡贫困家庭考生;申请免试的考生必须符合免试条件。对采用弄虚作假、资格造假等手段骗取考生资格的,一经查实,即按照《中华人民共和国教育部令第36号》等严肃处理。

  四、报考程序

  (一)报名时间

  2020年1月10日—13日,13日18时关闭系统。

  (二)报考办法

  1.在报考截止时间之前,考生登录云南省招考频道进入“工作网”(www.ynzs.cn或www.ynzk.cn),通过“普高志愿填报”功能进行报考, 考生登录工作网时,可以使用高考报名时所使用的用户名,也可以使用高考考号;登录密码使用高考网上报名时的登录密码。考生忘记登录密码,可以携带本人有效证件到确认点或确认点所在县、市、区招办进行密码重置。

  建档立卡贫困家庭考生在单招报考时,选项“是否是建档立卡户”必须选择“是”,建档立卡贫困户考生资格以2019年12月31日止省扶贫办比对数据结果为准,如因考生报考时个人信息填写错误,导致不能进行数据比对或者比对错误的,后果由本人承担。

  考生报名后必须于2020年1月13日18时前到报名确认点进行签字确认,单招报考方为有效。

  2.报考2020年我院单独考试招生的考生,允许兼报其它院校。

  (三)申请免试入学

  职业院校技能拔尖中职毕业生申请免试就读高职(专科),具体事项见《关于高等职业院校免试招收职业院校技能拔尖中职毕业生的指导意见》等(附件4)。免试资格等相关问题请直接与我院招生办联系,联系电话见后。

  (四)单招考试费

  根据《云南省财政厅云南省发展和改革委员会关于取消免征一批云南省地方设立的行政事业性收费的通知》(云财非税〔2017〕16号)精神,自2017年6月1日起,取消高等院校自主选拔录取考试费和单招考试费。报考我院2020年单独考试招生的考生考试费由我院承担,不再向考生收取。

  (五)体检

  参加高职单招的考生必须参加县、市、区招考办统一组织安排的普高体检,否则不能参加录取。

  五、考核方式

  (一)普通高中应(往)届毕业生

  不分文理科,实行“普通高中学业水平考试11门科目成绩+职业适应性测试”评价方式。普通高中学业水平考试量化成绩220分,职业适应性测试200分,总分420分。

  1.普通高中学业水平考试量化成绩

  (1)普通高中学业水平考试共11门学科(语文、数学、外语、思想政治、历史、地理、物理、化学、生物、信息技术及通用技术),每个科目按最好成绩等第进行量化(A等20分、B等16分、C等12分、D等8分),量化分数的满分为220分。

  (2)2020年1月底前由云南省招生考试院将报考我院单招考生普通高中学业水平考试11门科目量化成绩提供给我院。

  2.职业适应性测试。时间:2020年3月14日9:00-18:00,地点:校本部教学楼。

  3.成绩汇总。总成绩=普通高中学业水平考试成绩+职业适应性测试成绩。

  (二)三校生应(往)届毕业生

  实行“文化课网试+职业适应性测试”的评价方式。

  1.文化课网试

  (1)三校生类综合试卷:语文110分、数学110分、英语80分,总分300分;网试时间150分钟。

  (2)网试大纲:“三校生”公共科目考试大纲。

  (3)网试时间:2020年3月13日上午9:00-11:30。

  (4)网试地点:云南机电职业技术学院校本部。考生以准考证上的网试地点为准。

  2.职业适应性测试:时间:2020年3月14日9:00-18:00,地点:校本部教学楼。

  3.成绩汇总。总成绩=文化课网试成绩+职业适应性测试成绩。

  (三)建档立卡户考生

  普通高中建档立卡户贫困考生单招考核方式与普通高中应(往)届毕业生单招考核方式相同。总成绩=普通高中学业水平考试成绩+职业适应性测试成绩。

  三校生建档立卡户贫困考生单招考核方式与三校生应(往)届毕业生单招考核方式相同。总成绩=文化课网试成绩+职业适应性测试成绩。

  (四)申请免试入学的考生

  实行“免试资料审核+职业适应性测试”的评价方式。根据考生提交的免试申请,经省教育厅、省招考院审核合格后,参加我院职业适应性测试。总成绩=职业适应性测试成绩。

  (五)职业适应性测试注意事项

  1.我院于2020年2月底前在学院单招网站上公布参加我院职业适应性测试的考生名单,考生于2020年3月9日后可在学院单独招生网上打印准考证,测试当日凭第二代身份证、准考证参加考试。

  2.职业适应性测试时间:时间:2020年3月14日9:00-18:00,地点:校本部教学楼。

  3.职业适应性测试大纲:见附件2。

  4.我院将于2020年3月20日将经分管招生校领导签字盖章的成绩册、DBF格式数据库光盘报云南省招生考试院招生处审核备案。

  六、录取办法

  (一)录取原则

  1.学院严格遵守国家教育部、省教育厅、省招生考试院招生录取工作政策规定,严格遵守高校招生阳光工程“30个不准”工作纪律,规范招生操作,依法履行招生工作。

  2.考生身体健康要求,参照《普通高等学校招生体检工作指导意见》规定。

  3.普通高中应(往)届考生录取办法:总成绩=普通高中学业水平考试成绩+职业适应性测试成绩的评价方式,根据相应单招计划,身体条件、总成绩从高到低顺序,参考志愿顺序录取。

  4.三校生应(往)届考生录取办法:总成绩=文化课网试成绩+职业适应性测试成绩的评价方式,根据相应单招计划,身体条件、总成绩从高到低顺序,参考志愿顺序录取。

  5.建档立卡户考生录取办法:

  普通高中建档立卡户考生录取办法:总成绩=普通高中学业水平考试成绩+职业适应性测试成绩的评价方式,根据相应单招计划,身体条件、总成绩从高到低顺序,参考志愿顺序录取。

  三校生建档立卡户考生录取办法:文化课网试成绩+职业适应性测试成绩的评价方式,根据相应单招计划,身体条件、总成绩从高到低顺序,参考志愿顺序录取。

  6.具备免试入学资格的考生录取办法:总成绩=职业适应性测试成绩的评价方式,根据相应单招计划,身体条件、总成绩从高到低顺序,参考志愿顺序录取。

  (二)录取程序

  1.考生查询个人成绩:2020年3月20日起,考生可登陆学院单独招生网站查询个人成绩。

  2.公示单招拟录取名单:学院单独招生办公室根据单独招生录取原则确定单招拟录名单报学院单独招生领导小组审查确认,于2020年3月20日上报省招考院审录,2020年3月30日前在云南招考频道上公示拟录名单。

  3.单招录取确认:

  云南省招考频道网上公示的考生,必须到当地报名确认点进行确认(被两所及以上院校拟录公示的,只能选择一所院校进行确认)。未签字确认的考生视为放弃参加单招录取。

  4. 确认流程:

  (1)时间: 2020年3月30日—4月2日

  (2)地点: 当地县、市、区招办

1111.png

  说明:

  (1)2020年3月30日—4月2日单招拟录确认,如有第二批公示确认,以云南省招考频道公布的时间、要求为准。云南省招考频道网上公示拟录名单中的考生,必须到当地县、市、区招办进行签字确认,被两所及以上院校拟录公示的考生,只能选择一所院校进行签字确认。未签字确认的考生视为放弃参加单招录取。

  (2)确认参加单招录取的考生,不再参加普通高校统一考试录取;考生必须在3月30日前通过云南省招考频道查询核实;未在云南省招考频道网上公示预录名单中的考生,不能参加单招录取,可参加普通高等学校招生全国统一考试或三校生“文化素质+职业技能”云南省统一考试。

  5.公示单招预录取名单:2020年4月10日前云南省招考频道网上公示单招预录名单,请考生注意查看。

  6.普通高中生、建档立卡户普高考生须达到学业水平考试控制分数线、参加职业适应性测试、体检方具备单招录取资格。三校生、建档立卡户三校生考生必须参加文化素质考试、职业技能考核、体检方有资格参加单招录取。免试入学考生须具备免试入学资格,参加职业适应性测试、体检方具备单招录取资格。

  7.确认参加单招录取的考生,不再参加普通高校统一考试录取。

  8.录取通知书:经云南省招生考试院审核批准后,我院于2020年7月办理录取手续,并向考生发放录取通知书。

  七、单招工作日程

2222.png

  八、招生监督

  (一)我院深入实施阳光招生,坚决抵制各种不正之风,促进教育公平,接收考生、家长、社会监督。

  (二)招生中出现违规违纪问题的举报投诉方式:云南机电职业技术学院纪检监察审计处:0871-65237363。

  九、优惠政策

  (一)凡学院单独招生录取考生,与普通高校秋季招生录取考生享受同等政策,云南省招生考试院统一报教育部电子注册。

  (二)建档立卡户贫困考生,单列招生计划,录取专业优先,优先推荐就业。

  (三)具备免试入学资格的考生,直接参加我院职业适应性测试。

  (四)对录取到我院的云南省范围内大中型水库移民安置区的移民考生,由省财政厅、省移民局给予学费和生活费补助,每年每生8000元。此类考生报到前须如实填写《移民学生招生报名表》(见附件3)一式三份),到生源所在地的县(市、区)移民局和州(市)移民局签字盖章,报到后交至学院招生办公室。

  十、其它事项

  (一)联系方式

  1.通讯地址:云南省昆明市盘龙区龙泉路704号,云南机电职业技术学院招生办公室

  2.邮编:650203

  3.咨询电话:0871-65237409,65237414

  4.监督电话:0871-66314360

  (二)本章程:由云南机电职业技术学院招生办公室负责解释。

  (三)请广大考生注意查看:云南招考频道网址:www.ynzk.cn;云南机电职业技术学院网址:www.ynmec.com

  附件.docx(点击查看)

  附件1:《云南机电职业技术学院2020年单独考试招生计划》

  附件2:《云南机电职业技术学院2020年单独考试招生职业适应性测试大纲》

  附件3:《云南机电职业技术学院2020年移民招生报名表》

  附件4:《关于做好2020年高等职业院校免试招收职业院校技能拔尖中职毕业生工作的通知》

  附件4.1《云南省高等职业院校技能拔尖人才免试招生申请表》

  附件4.2 《云南省2020年普通高等学校免试招收职业院校技能拔尖毕业生资格审查汇总表(中职毕业生适用)》